新型纺织品展示架设计
点击次数:更新时间:2016-01-26 11:01:54【打印】【关闭】
众所周知,纺织品是一种通过纺丝制造形成的物品,主要包括地毯、衣物、床单被罩等;而纺织品展示架则是一种用于纺织品展示的装置,广泛应用于...
众所周知,纺织品是一种通过纺丝制造形成的物品,主要包括地毯、衣物、床单被罩等;而纺织品展示架则是一种用于纺织品展示的装置,广泛应用于工厂、商场和门市等地;现有的纺织品展示架包括底柜和上柜,底柜的内部设置有放置腔,底柜的前端设置有取放口,并且取放口与放置腔相通,取放口上设置有柜门;上柜安装在底柜的上方;使用时,通过底柜进行纺织品纺织,并通过上柜进行展示;但是这种纺织品展示架使用中发现,其展示效果较为单一,并且由于空间不可调,导致空间只能展示特定大小的纺织品。为解决上面的问题。我们设计了一种规划合理,并且可进行空间调节的新型纺。
具体实施方式:
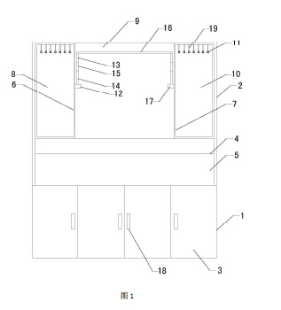
设计的新型纺织品展示架,包括底柜2和上柜3,底柜的内部设置有放置腔,底柜的前端设置有取放口,并且取放口与放置腔相通,取放口上设置有柜门3;底柜的顶端设置有放置柜4,放置柜由透明挡板制成,放置柜前端设置开口,并在开口上设置有挡门5;上柜的底端与底柜的顶端安装在一起,上柜的内部设置有搁置腔,搁置腔内设置有左侧板6和右侧板7,左侧板和右侧板的顶端与搁置腔内顶壁固定,左侧板和右侧板的底端与搁置腔内底壁固定,并且左侧板和右侧板将搁置腔隔成左腔室8、中腔室9和右腔室10,左腔室和右腔室的内顶壁上均设置有多组挂环11;中腔室内设置有左限位板12、左上支架13、左下支架14、左套管15和支撑棒16,左限位板与中腔室内左侧壁固定,左上支架的顶端与支撑棒左端固定,左下支架的底端与左限位板的顶端固定,左上支架的底端和左下支架的顶端均设置有外螺纹结构,左套管的内部设置有内螺纹结构,左上支架的底端和左下支架的顶端均插入并螺装在左套管的内部;通过上述设置,可以达到柜体内进行纺织品放置,放置柜进行纺织品叠加展示,左腔室、右腔室和中腔室进行挂装展示,并且可以通过左套管、左上支架和左下支架及支撑棒的配合进行纵向调节,规划合理,简单实用。
中腔室内还设置有右限位板17、右上支架、右下支架和右套管,右限位板与中腔室内右侧壁固定,右上支架的顶端与支撑棒右端固定,右下支架的底端与右限位板的顶端固定,右上支架的底端和右下支架的顶端均设置有外螺纹结构,右套管的内部设置有内螺纹结构,右上支架的底端和右下支架的顶端均插入并螺装在右套管的内部。
柜门为多个,并且多个柜门与底柜通过合页连接在一起。还包括多个把手18,并且每个把手均安装在一个柜门的前端。左腔室和右腔室的内部均设置有多个连接架19,连接架的顶端与左腔室和右腔室的内顶壁固定,连接架的底端与挂环固定。
对于本技术领域的普通技术人员来说,在不脱离本设计技术原理的前提下,还可以做出若干改进和变型,这些改进和变型也应视为本设计的保护范围。


|